Отключающие устройства на газопроводах

Ктз клапан термозапорный газовый монтаж. Ограждение контрольной трубки газопровода. Конденсатосборники, устанавливаемые на газопроводах. Конденсатосборники на газопроводах. Цокольный ввод пэ 100 газ sdr 11.
Ктз клапан термозапорный газовый монтаж. Ограждение контрольной трубки газопровода. Конденсатосборники, устанавливаемые на газопроводах. Конденсатосборники на газопроводах. Цокольный ввод пэ 100 газ sdr 11.
Контрольная трубка на газопроводе. Технологическая схема обвязочных газопроводов котла. Принципиальная схема газопроводов и грп. Отключающие устройства на газопроводах. Отключающие устройства на газопроводах.
Контрольная трубка на газопроводе. Технологическая схема обвязочных газопроводов котла. Принципиальная схема газопроводов и грп. Отключающие устройства на газопроводах. Отключающие устройства на газопроводах.
Цокольный ввод газопровода 32х25. Арматура защитная магистральный нефтепровод. Термозапорный клапан на газопроводе в котельной. Запорная арматура наружных газопроводов. Кран пэ 110 подземный газопровод.
Цокольный ввод газопровода 32х25. Арматура защитная магистральный нефтепровод. Термозапорный клапан на газопроводе в котельной. Запорная арматура наружных газопроводов. Кран пэ 110 подземный газопровод.
Газоснабжение котельной расходомер ду 80. Запорная арматура подземных газопроводов. Отключающие устройства на газопроводах. Цокольный ввод ду 50. Газовый фильтр продувочная свеча.
Газоснабжение котельной расходомер ду 80. Запорная арматура подземных газопроводов. Отключающие устройства на газопроводах. Цокольный ввод ду 50. Газовый фильтр продувочная свеча.
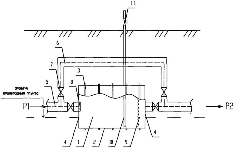
Цокольный ввод пэ100 sdr11. Арматура на илопроводе. Отключающие устройства на газопроводах. Увг-100 для врезки под давлением схема. Конденсатосборник низкого давления.
Цокольный ввод пэ100 sdr11. Арматура на илопроводе. Отключающие устройства на газопроводах. Увг-100 для врезки под давлением схема. Конденсатосборник низкого давления.
Клапан на газовую трубу ктз. Крановый узел магистрального газопровода эхз. Шрп газовое оборудование. Крановый узел с двухсторонней продувкой магистрального газопровода. Отключающие устройства на газопроводах.
Клапан на газовую трубу ктз. Крановый узел магистрального газопровода эхз. Шрп газовое оборудование. Крановый узел с двухсторонней продувкой магистрального газопровода. Отключающие устройства на газопроводах.
Газовый вентиль трубопровод магистральный. Цокольный ввод газопровода 32х25. Контрольная трубка под ковер на газопроводе. Отключающее устройство на газопроводе. Ктз на газопроводе.
Газовый вентиль трубопровод магистральный. Цокольный ввод газопровода 32х25. Контрольная трубка под ковер на газопроводе. Отключающее устройство на газопроводе. Ктз на газопроводе.
Схема обвязочных газопроводов котла. Газовое оборудования шрп и грп ду 100. Отключающие устройства на газопроводах. Отключающие устройства на газопроводах. Цокольный газовый ввод ду50.
Схема обвязочных газопроводов котла. Газовое оборудования шрп и грп ду 100. Отключающие устройства на газопроводах. Отключающие устройства на газопроводах. Цокольный газовый ввод ду50.
Продувочный газопровод на шрп. Электромагнитный клапан на газопроводе в котельной. Отключающие устройства на газопроводах. Газорегуляторный пункт грп схема. Отключающие устройства на газопроводах.
Продувочный газопровод на шрп. Электромагнитный клапан на газопроводе в котельной. Отключающие устройства на газопроводах. Газорегуляторный пункт грп схема. Отключающие устройства на газопроводах.
Отключающие устройства на газопроводах. Схема продувка газопровода котельной на газе. Схема обвязки газопровода котла. Внутренний газопровод. Схема конденсатосборника на газопроводе схема.
Отключающие устройства на газопроводах. Схема продувка газопровода котельной на газе. Схема обвязки газопровода котла. Внутренний газопровод. Схема конденсатосборника на газопроводе схема.
Внутренний газопровод. Газораспределительная подстанция грп. Приспособление для врезки газопровода под давлением. Подземный кран для газопровода диаметр 225. Задвижка магистрального нефтепровода.
Внутренний газопровод. Газораспределительная подстанция грп. Приспособление для врезки газопровода под давлением. Подземный кран для газопровода диаметр 225. Задвижка магистрального нефтепровода.
Отключающие устройства на газопроводах. Датчики в нефтепроводе. Монтаж шарового крана на газопроводе. Газовая труба. Цокольный ввод газопровода схема.
Отключающие устройства на газопроводах. Датчики в нефтепроводе. Монтаж шарового крана на газопроводе. Газовая труба. Цокольный ввод газопровода схема.
Манометры на трубах газопровода. Отключающие устройства на газопроводах. Конденсатосборник газовый чертеж. Цокольный ввод г-образный 63х57 пэ100 sdr11 газ. Труба котельной.
Манометры на трубах газопровода. Отключающие устройства на газопроводах. Конденсатосборник газовый чертеж. Цокольный ввод г-образный 63х57 пэ100 sdr11 газ. Труба котельной.
Технологическая схема обвязочных газопроводов котла. Врезка увг-100 чертеж. Конденсатосборник на газопроводе устройство и принцип работы. Схема установки электромагнитного клапана на газопроводе. Грп котельной.
Технологическая схема обвязочных газопроводов котла. Врезка увг-100 чертеж. Конденсатосборник на газопроводе устройство и принцип работы. Схема установки электромагнитного клапана на газопроводе. Грп котельной.
Цокольный ввод г-образный 63х57 пэ100 sdr11 загл 1" футляр изопайп. Отключающие устройства на газопроводах. Конденсатосборник газовый схема. Цокольные вводы полиэтилен-сталь. Схема принципиальная грп с байпасом.
Цокольный ввод г-образный 63х57 пэ100 sdr11 загл 1" футляр изопайп. Отключающие устройства на газопроводах. Конденсатосборник газовый схема. Цокольные вводы полиэтилен-сталь. Схема принципиальная грп с байпасом.
Отключающие устройства на газопроводах. Кран пэ 110 подземный газопровод. Тройник увг 100 для врезки. Термозапорный клапан на газопроводе в котельной. Отключающие устройства на газопроводах.
Отключающие устройства на газопроводах. Кран пэ 110 подземный газопровод. Тройник увг 100 для врезки. Термозапорный клапан на газопроводе в котельной. Отключающие устройства на газопроводах.
Газовая труба. Отключающие устройства на газопроводах. Арматура газопроводов. Узел запорной арматуры на газопроводе. Крановый узел магистрального газопровода ду1400.
Газовая труба. Отключающие устройства на газопроводах. Арматура газопроводов. Узел запорной арматуры на газопроводе. Крановый узел магистрального газопровода ду1400.
Запорная арматура для газопроводов. Конденсатосборник на газопроводе пэ. Цокольный ввод газопровода 90х89. Запорная арматура для газопроводов. Отключающие устройства на газопроводах.
Запорная арматура для газопроводов. Конденсатосборник на газопроводе пэ. Цокольный ввод газопровода 90х89. Запорная арматура для газопроводов. Отключающие устройства на газопроводах.
Газопровод низкого давления подземный пэ100. Узел сбора конденсата на газопроводе. Отключающие устройства на газопроводах. Отключающие устройства на газопроводах. Отключающие устройства на газопроводах.
Газопровод низкого давления подземный пэ100. Узел сбора конденсата на газопроводе. Отключающие устройства на газопроводах. Отключающие устройства на газопроводах. Отключающие устройства на газопроводах.
Газовый вентиль трубопровод магистральный. Тройник увг 100 для врезки. Газовая труба. Отключающие устройства на газопроводах. Отключающие устройства на газопроводах.
Газовый вентиль трубопровод магистральный. Тройник увг 100 для врезки. Газовая труба. Отключающие устройства на газопроводах. Отключающие устройства на газопроводах.